Profile
A Consulting Engineer’s Guide to Contract-Ready Specifications
This article consolidates the key CAREL humidification systems and links directly to both:
-
The official product page
-
The official “Text for Specifications” or “Text for Contract Specifications” document
If you are writing a design specification for humidification in a hospital, laboratory, data centre, commercial office, or specialist process facility, this is where you start.
1) humiSonic Ventilation
Ultrasonic Adiabatic Humidifier – AHU / Duct Mounted

Product Overview
humiSonic Ventilation is an ultrasonic adiabatic humidification module designed for installation inside air handling units or duct systems. It atomises RO/demineralised water into ultra-fine droplets that evaporate in the airstream, delivering humidification with extremely low electrical input.
Because it is adiabatic, it also produces a dry-bulb temperature reduction that must be considered in psychrometric modelling.
Typical Applications
-
Healthcare ventilation systems
-
Laboratories
-
Data centres
-
Commercial offices
-
Energy-efficient building designs targeting reduced kW demand
Official Product Page
https://www.carel.com/humisonic
Text for Specifications
Why This Matters to Consulting Engineers
The specification document provides:
-
Functional system description for inclusion in mechanical specifications
-
Installation obligations for AHU integration
-
Water quality requirements (RO mandatory)
-
Control interface and BMS integration wording
-
Submittal and commissioning requirements
It supports specification writing and tender clarity.
Detailed capacity tables and absorption distance data must be sourced from the technical manual or the CPQ selection software
2) humiSonic Direct
Ultrasonic Direct Space Humidifier

Product Overview
humiSonic Direct is designed for direct discharge into the conditioned space rather than duct integration. It delivers humidification using ultrasonic atomisation with very low electrical input.
Typical Applications
-
Warehouses
-
Archive storage
-
Printing facilities
-
Specialist manufacturing
-
Industrial process spaces
Official Product Page
Text for Specifications
Specification Value for Engineers
The specification text defines:
-
Equipment scope for direct-space humidification
-
Water supply and drainage requirements
-
Functional performance wording
-
Control integration requirements
-
Manufacturer documentation obligations
This allows engineers to clearly define system responsibility in D&C projects without relying on brochure language.
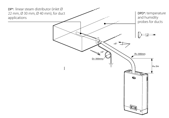
3) heaterSteam process
Immersed Heater Isothermal Steam Humidifier

Product Overview
heaterSteam process is an electric resistive isothermal steam humidifier using immersed heating elements to generate clean steam. Unlike adiabatic systems, it does not reduce supply air temperature.
Typical Applications
-
Pharmaceutical clean rooms
-
Hospitals
-
Laboratories
-
Process manufacturing
-
Critical RH environments
Official Product Page
Text for Contract Specifications
Specification Relevance
The document provides:
-
Isothermal steam humidifier definition
-
Functional performance wording
-
Electrical supply description
-
Steam distribution requirements
-
Installation and QA clauses
-
Required submittals
Electrical kW data must be taken from the technical documentation for switchboard coordination.
4) humiSteam
Electrode Steam Humidifier

Product Overview
humiSteam is an electrode-based steam humidifier where output varies according to water conductivity. It is widely applied in commercial HVAC systems.
Typical Applications
-
Commercial offices
-
Retail
-
Schools
-
Hospitals
-
General commercial HVAC systems
Official Product Page
Text for Contract Specifications
Specification Relevance
The spec document defines:
-
Electrode steam generation principle
-
Control interface requirements
-
Installation and commissioning obligations
-
Maintenance expectations
-
Documentation and compliance requirements
This allows consultants to specify commercial-grade steam humidification clearly without embedding performance data in the specification.
5) humiFog multizone
High-Pressure Adiabatic Humidification System


Product Overview
humiFog multizone is a high-pressure atomisation system delivering adiabatic humidification via stainless steel piping and precision nozzles. It significantly reduces electrical energy compared to steam systems.
Typical Applications
-
Large AHUs
-
Data centres
-
Industrial HVAC
-
Energy-optimised commercial buildings
Official Product Page
https://www.carel.com/humifoghumiFog Multizone Touch
Text for Contract Specifications
Specification Relevance
The specification text defines:
-
High-pressure pump system scope
-
Multi-zone functional requirements
-
RO water requirement
-
Installation responsibilities
-
Commissioning and documentation clauses
ultimateSAM
Steam Distribution Manifold


Product Overview
ultimateSAM is a stainless-steel steam dispersion manifold designed to improve absorption performance and reduce condensation risk inside AHUs.
Typical Applications
-
AHU steam humidification systems
-
Healthcare ventilation
-
Pharmaceutical air handling
Official Product Page
Text for Contract Specifications
WTS Large RO System
Water Treatment System for Humidification

Product Overview
WTS Large RO System provides treated water for ultrasonic and high-pressure humidification systems.
Typical Applications
-
Ultrasonic humidification
-
High-pressure adiabatic systems
-
Industrial humidification plants
Official Product Page
Text for Contract Specifications
Why This Matters for Australian Consulting Engineers
Using CAREL “Text for Specifications” documents allows you to:
-
Standardise humidification specification language
-
Reduce ambiguity in D&C contracts
-
Define installation and commissioning responsibility
-
Mandate documentation deliverables
-
Align humidification systems with NCC-compliant mechanical documentation
They are not substitutes for technical data sheets — but they are critical tools for producing clear, contractual mechanical specifications.
Reviews
Comments are closed.



